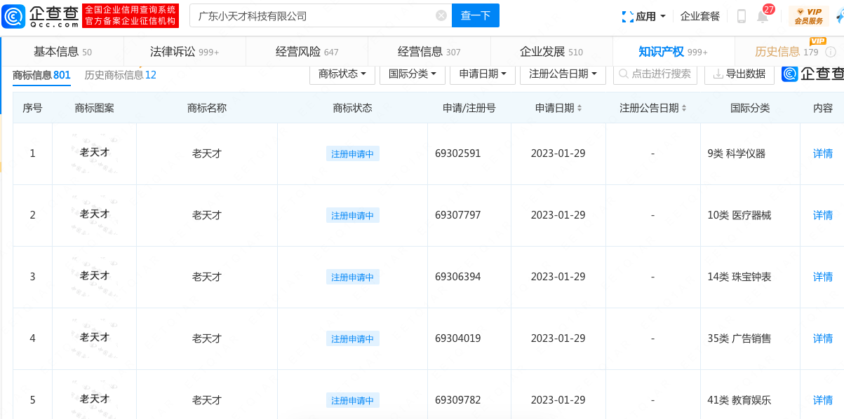
多知网2月19日消息,近日,企查查APP显示,广东小天才科技有限公司申请注册五件“老天才”商标,国际分类分别涉及科学仪器、医疗器械、珠宝钟表、广告销售教育娱乐等,目前商标状态均为注册申请中。

截图自企查查
广东小天才科技有限公司成立于2010年,注册资本1亿元,经营范围含生产和销售:家用电视游戏机、学习机及卡带、语言复读机等,全资大股东为东莞步步高教育科技有限公司,旗下有多款青少年儿童电话手表产品。
对于知名品牌而言,注册防御商标是一种常见的商标布局。
不过,小天才此举是否是瞄准老年市场的信号,这仍引发外界期待。凭借小天才品牌成为儿童手表大腕后,“老天才”是否也能在老年人市场里独占鳌头?
从品牌名称来看,“老天才”延续了小天才系产品名称的通俗、定位明确、利于传播的特点,给老年产品带上一种童真感,具有极高辨识度。
从市场前景来看,中国已进入长寿时代。
根据国家统计局发布的最新数据,2022年末,60岁及以上人口达2.8亿,占总人口的19.8%,其中65岁及以上人口达到2亿,占总人口的14.9%。在民政部召开的2022年第四季度例行新闻发布会上,民政部养老服务司副司长李邦华介绍,预计“十四五”时期,全国60岁及以上老年人口总量将突破3亿,占比将超过20%,中国将进入中度老龄化。根据《中国老年健康和家庭幸福影响因素跟踪调查(2021年)》显示,2020年全国百岁老人达11.9万人,2021年人均预期寿命78.2岁。
2.8亿老年群体的庞大规模也为适老化产品孕育着颇具潜力的想象空间。不仅仅是老龄人口数量的增加,更重要的是,老龄人口的代际结构变迁开始出现。
与此前的50后群体不同,正在逐渐退休的60后以及未来几年即将步入退休生活的70后群体,他们拥有空闲的时间与相对优渥的经济基础及消费能力,对为服务买单这事既有认知也认可,对互联网、数字化的新鲜事物有更开放包容的观念。
当前,除了过去就已经成熟的健康监测、保健外,新一代老人对社交活动、个人价值的实现也有了新的追求。
根据《中国老年健康和家庭幸福影响因素跟踪调查(2021年)》,调查对象中65岁~69岁老人能够使用智能手机的比例超过50%,82%的老人都能用智能手机聊天、看电影、看电视剧等,这意味着数字化对于老年人生活影响将会激增,适老化数字产业将会有较大的发展前景。
一个很明显的现象是“老网民”的增加,老人沉迷抖音、快手的现象并不鲜见,但是长时间刷手机并不利于健康。
从供给侧来看,当前,老年市场的健康监测相关的产品较多,智能手表、手环等产品层出不穷,同质化较为明显,通常具备GPS定位,语音视频通话,大屏幕,实时心率、血压等健康指标监测,一键SOS报警等功能。
但目前能满足老人“精神需求”、符合老人用户使用习惯又兼具健康保护的智能硬件产品却并不多。或许这也是“老天才”们的机会点。
此消息一出,便有部分网友在社交媒体评论道:“我大概率会买老天才手表,(因为)实在受不了半天找不到妈妈。”
过去,小天才手表的风靡离不开其社交功能。在满足类似微信聊天社交沟通功能的基础上,小天才电话手表还设计了碰一碰加朋友、好友圈等功能。那么,依靠社交崛起的小天才模式,会在老天才上得到复制吗?
并非完全不可能。实际上,老年人已经有现成的线下社交场景,比如老年人活动中心、广场舞队等,并且信息传播速度快。而另一端,子女的“孝心经济”也解决了老年人付费意愿弱的问题。
那么,在儿童手表市场日渐红海化的时代,“老天才”可以通过新用户群来另辟蹊径吗?
相关阅读:
END
本文作者:徐晶晶
