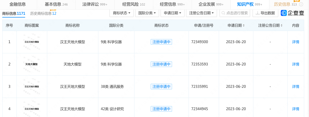
多知网7月4日消息,近日,据企查查显示,汉王科技(002362.SZ)申请“汉王天地大模型”“天地大模型”等多件商标,国际分类涉及科学仪器、通讯服务、设计研究,当前商标状态均为申请中。

汉王科技成立于三十年前,“汉王”品牌最初的含义为汉字之王,董事长刘迎建意识到要想让中国大多数人更便利地使用计算机,关键是要解决汉字输入的技术难题,1992年研发出中国首套“联机手写汉字识别在线装置”, 1993 年注册“汉王”商标,是全球最早掌握中文汉字手写输入法且解决汉字手写输入电脑难题的高科技公司。之后,公司陆续在文本图像识别、自然语言处理、生物特征识别、智能视频分析、智能人机交互等人工智能产业链关键技术上不断投入,取得了相应成绩。如今汉王科技主营业务为从事于计算机视觉(文本图像识别、生物特征识别、视频结构化)、自然语言处理、智能人机交互技术的研究。汉王科技形成了四大业务板块,分别为:文本大数据、笔智能交互、人脸及生物特征识别、AI智能终端。
从业务结构来看,“笔智能交互”是其营收的主要来源。具体而言,2022年笔智能交互业务的实现营收8.6亿元,营收占比达61.59%。
在文本大数据业务方面,汉王科技延伸到智慧教育业务。“公司期望将手写电纸本打造成继手机、电脑、pad之外的第四个主流电子产品。低碳、无纸化是众多领域未来的主流趋势,现阶段教育领域的智慧校园、智慧课堂等方案中均或多或少涉及无纸化的场景,智慧阅读系统、美术教育数字课堂解决方案、试题管理系统是公司在教育领域无纸化的落地项目,公司的手写作业本项目亦在研发开展中。”
在AI 智能终端业务业务方面,汉王科技拥有仿生鸟和e典笔。
此前,汉王科技在6月底披露投资者关系活动记录表时表示,研发团队正按计划进行研发工作, 现阶段定位是针对教育、司法等行业的适度算力、适度参数的大模型;计划在十月份推出测试版本,相关事项视进展情况发布公告。
汉王科技董事会秘书、副总裁周英瑜表示:“公司在文本大数据业务上生根多年,围绕自然语言理解技术可应用的场景非常多,呈现形态也将多种多样,有数据治理、交互问答、数字员工等等,比如在人文、档案行业的数据治理上,有基于多模态 AI 能力,贯穿图像识别、结构化数据抽取、知识抽取、跨门类弹性数据关联、数据信息比对与演变等多层次技术与全新产品线,针对公共服务、城建、 人事、交通、医疗、社保等垂直行业的数据治理需要,以形成循数推理、依数治理新模式;而生成式交互问答可覆盖和服务的人群就更为广泛,涉及的知识门类也更多,也更复杂,需要更多的数据量,服务形态包括智能客服、虚拟助理等;除了上面说的行业应用,公司正在研发的各类模型还会尽快应用到 TO C 产品中(重点是 N10 系列电纸记事本、AI 智能学习本)。”
在此前的6月20日举行的2022年年度暨2023年第一季度业绩说明会上,汉王科技详细介绍了教育相关垂直大模型:“我们的大模型将会拥有数据生成能力、改错能力、咨询和摘要等核心能力。比如,在教育领域,利用搭载的教育专业大模型,可以在学生本(AI电纸学习本)等终端上通过语言理解、逻辑推理、数字能力等进行 AI 的作业批改,智能判题、精准的类题推送,为用户搭建一个定制化的精准学习进阶计划。”“我们相信,教室里人手一本电纸学习本在不久的将来有可能成为现实。”汉王科技表示。
今年上半年,猿辅导推出小猿学练机,同样切入了“在智能作业场景中提供墨水屏教育硬件”这一领域。有投资者问及双方是否有合作,对此,汉王科技表示,目前双方没有合作。“汉王和小猿作为目前 C 端市场上, 在智能作业场景中提供墨水屏教育硬件的两家公司,各有优势。 汉王有多年积累的 AI 技术、墨水屏软硬件技术和人工智 能的教育产品技术,以及多年积累的品质控制与供应链优势,会持续与行业内优质资源方合作,赋能更多教育内容方,为个性化学习和教育公平提供好的产品。未来也不排除与小猿沟通合作。”